Наверняка каждому садоводу нравится, когда его территория чистая и ухоженная. Для получения желаемого результата нередко используют мотоблоки и разные навески. Указанный агрегат хорош не только для обработки земли, но и для выполнения массы самых задач абсолютно разнообразного плана. Одной из многих функций машины является измельчение веток. Естественно, проделывать такие операции можно только при помощи специальной приставки к мотоблоку.
Какие бывают дробилки
Условно дробилки разделяют на группы по типу использования. Они могут быть для измельчения:
Помимо этого, дробилки классифицируют по размерам. Агрегат может быть малого – 0,02 м, среднего – 0,1 м и крупного дробления – 0,3 м.
Исходя из особенностей, приспособления бывают:
- Устройства ножевые.
- Аппараты плиточные.
- Дробилка, оснащенная конусообразным бункером.
- Машины роторно-ножевые.
Как сделать измельчитель из подручных материалов
Многие бережливые и запасливые хозяева не спешат выбрасывать старые инструменты и бытовые приборы. Они находят им новое применение. Стоит проявить немного фантазии, включить логику и смекалку, и из подручных инструментов и старых деталей можно создать настоящего помощника в хозяйстве. Рассмотрим некоторые простые варианты изготовления самодельного измельчителя веток и травы из простых и доступных материалов.
Шредер из болгарки и пылесоса
Одной из таких самодельных конструкций является выполненный своими руками садовый измельчитель из болгарки, старого пылесоса и ножей от газонокосилки. Один известный изобретатель Владимир Беляев предложил свой измельчитель веток своими руками, видео создания которого вдохновило многих модернизировать данную идею и предложить свое видение при создании дачного помощника. Далее рассмотрим один из интересных и популярных вариантов.
Для создания несложной, но продуктивной конструкции потребуется старый работающий пылесос, болгарка Макита мощностью 3,2 кВт, ножи от газонокосилки, устойчивая деревянная основа, приемная воронка и металлический столик с вертикально приваренным листом металла.

Приемная воронка горизонтально крепиться на вертикальном металлическом листе, приваренном к столику. Этот лист должен быть толстым, чтобы удержать на себе прикрепленную с помощью болтов болгарку и установленные на ней ножи. Если посадочное место трехлепестковых ножей от газонокосилки не совместимо с угловой шлифмашинкой, то тогда необходимо их подточить, чтобы ножи надежно сели. Для того чтобы измельченная масса не застревала между ножами, на металлический лист крепится труба от старого пылесоса, которая подает воздух. Желательно чтобы болгарка и пылесос включались одновременно.
Металлический столик располагается на деревянной стационарной основе. Также следует установить защитный кожух, который предотвратит обратное движение измельченных веток.
Такой простой вариант садового измельчителя своими руками, видео наглядное тому подтверждение, можно легко создать на своей даче, без сложных этапов работы и приобретения дополнительных материалов.

Шредер из стиральной машины
Садовый измельчитель можно создать из старой стиральной машинки. Для этого понадобится корпус и двигатель от техники, старая пила, ведро и другие детали, и инструменты для крепления конструкции.
В корпусе старой стиральной машинки делается боковое отверстие для выхода переработанного сырья. На дно емкости с использованием специальной втулки крепятся ножи, которые можно изготовить из кусочков старой пилы. В качестве двигателя используется уже имеющийся, встроенный в старую стиральную машинку. Приемный контейнер для измельченного мусора устанавливается возле бокового отверстия.
Шредер из дрели
Еще одним элементарным изобретением является самодельный шредер с помощью электрической дрели. Принцип действия такого механизма напоминает овощерезку.

Для создания конструкции необходимо взять старый табурет. Просверлить в нем отверстие диаметром 12 мм. С обратной стороны табурета прикрепляется корпус с подшипником. На табурет устанавливается и закрепляется саморезами ведро с отверстием такого же диаметра. В отверстие вставляется подшипник, на который устанавливается вал с закрепленными на нем ножами из быстрорежущей стали. К концу вала снизу табурета присоединяется двухрежимная дрель через быстрозажимной патрон.
В ведро забрасывается мягкое сырье и запускается электрическая дрель. После тщательного измельчения до нужного состояния мульча извлекается. Данная конструкция рассчитана на небольшой объем перерабатываемых отходов.
Особого внимания заслуживает процесс изготовления и затачивания ножа. Следует выполнить одностороннюю заточку. Заточенная плоскость располагается внизу. Для измельчения свежескошенной травы идеально подойдет ромбовидная форма ножа, в которой можно округлить лезвия. Это позволить траве свободно скользить по режущей кромке измельчительного ножа, не наматываясь при этом на него.

Из предложенных вариантов можно сделать вывод, что создать садовый измельчитель своими руками можно из любого подручного материала. Достаточно иметь электродвигатель, адаптированный под сеть 220В, любую круглую емкость достаточного размера, стальной лист, ножовку по дереву или пилы от старой газонокосилки для создания режущего механизма.
Как работает самодельный агрегат
В последнее время пользуется спросом дробилка для дерева б/у «Авито». Однако это не универсальный агрегат. При желании можно сделать самодельное устройство. Чтобы его собрать, стоит разобраться в принципе действия такого приспособления.
Работает самодельная дробилка наподобие обычной мясорубки. Принцип достаточно прост. Сначала материал проходит через барабан – приемную чашу, а затем попадает в дробильную систему, где очень быстро измельчается. То отделение, которое перемалывает мусор, состоит из нескольких резаков и фрезы. При этом производительность агрегата напрямую зависит от мощности. Однако данный показатель не должен быть более 2,6 кВт. Именно такую мощность имеет дробилка для дерева (б/у или новая — не суть важно).
Особенности самодельных моделей
Любой шредер (как самодельный, так и покупной) должен компоноваться из нескольких базовых составляющих:
- стальной рамки, на которой и закрепляются все составляющие;
- электрического или бензинового движка;
- режущего механизма;
- защитного кожуха;
- главной передачи.
Помимо этого, не обойтись без пары емкостей: в первую будет закладываться обрабатываемый мусор, а во второй – складироваться получившиеся щепки. Самодельные модели отличаются режущим механизмом, а остальные элементы являются одинаковыми (только с разными размерами). Измельчение веток может проводиться при помощи 20 или 30 дисковых пил, которые оборудованы зубцами из твердых сплавов. Затем это может быть комбинация заточенных ножиков из углеродистой стали, закрепленных на валу. Мусор будет закладываться под прямым углом и измельчаться ножиками, которых присутствует от 2 до 6 штук.
Следующим вариантом измельчителя можно назвать дисковую дробилку, ветки в которую кладутся под углом от 30 до 45 градусов. Ножики в этом случае монтируются на стальном круге, закрепленном на валу. В более сложных вариациях имеется два вала, вращающихся синхронно. Ножики сходятся в одной точке, и дробят отходы. Древесину в этом случае следует складывать под прямым углом. Дисковые пилы рекомендуется применять, чтобы быстро и просто производить из отходов миниатюрную древесную стружку. Агрегат наподобие фуганка актуален при обработке тонких веток для получения более крупной фракции. Наконец, дисковая дробилка подойдет, чтобы разрубить ветки, диаметр которых превышает 5 сантиметров.
Что нужно для работы
Чтобы создать дробилку для дерева, потребуются следующие материалы:
- Пилы. Толщина данных деталей должна составлять 0,6-0,1 м. Их требуется от 10 до 20 штук, чтобы агрегат нормально работал. Чем больше пил, тем качественнее будет происходить измельчение материалов.
- Мотор. Лучше всего использовать электродвигатель. Он работает практически бесшумно. Дробилка с таким мотором способна перемалывать мусор в небольших количествах, не нанося вреда окружающей среде. Ведь в процессе работы электродвигатель не выделяет вредных веществ. Использовать агрегат можно не только на улице, но и в помещении. Главный недостаток – зависимость от электропитания.
- Шпильки для крепления резаков.
- Сварочный аппарат.
- Бункер и кожух, которые сделаны и оцинкованного металла.
- Шайбы и гайки.
- Профтрубы из металла, предназначенные для изготовления корпуса агрегата.

Измельчение пней
Специальный аппарат разработан и для работы с пнями. Измельчитель пней очень удобен тем, что способен справиться не только с надземной, но и подземной частью. Он срезает ствол дерева и корни на глубине до 30 см.
Измельчитель пней имеет только один недостаток — его невозможно использовать зимой, когда древесина промерзшая. Работает измельчитель пней по принципу послойного срезания, и может применяться для переработки пня любой древесной породы. Острые ножи способны справиться даже с очень твердой древесиной. Измельчитель пней может быть разных размеров: есть модели, напоминающие собой трактор, а есть и самодельные, более компактные. Самодельный измельчитель пней больше напоминает пилу, но имеет более длинную ручку и более длинные режущие диски, а также довольно мощный, чаще бензиновый, двигатель.
Дробилка для дерева своими руками
Изготовить чертежи – это первое, что нужно сделать. В противном случае можно запутаться и неправильно собрать агрегат. Только после этого можно приступать к сбору всей конструкции.
Все пилы следует установить на уже подготовленную ось. Размеры их должны соответствовать размерам резаков. После установки диски необходимо зафиксировать с помощью гаек и шайб. При этом следует учесть некоторые особенности строения. Между пилами должны быть тонкие шайбы. Они не позволят дискам задевать друг друга острием. При этом количество шайб должно быть на 1 меньше, чем количество пил.
Когда оси будут зафиксированы, а диски разделены, следует установить шкив. Если такой детали нет под руками, то ее можно взять из генератора автомобиля отечественного производства. Чтобы шпилька нормально вращалась, стоит использовать несколько подшипников, диаметр которых составляет 2 см.
Общая информация
Перед тем как начать создавать щепорубительную машину своими руками, необходимо разобраться в ее особенностях, принципе работы и предназначении. Щепа является одним из ключевых элементов арболита или щепкобетона — популярного строительного материала, на основе которого создают малоэтажные помещения. Это интересно: технология производства арболита. На рынке арболит продается в виде прямоугольных блоков и содержит в себе цементные смеси марок 400 или 500. В роли дополнительных компонентов используют переработанные древесные отходы, размерами 5×5×25 мм. В числе подобных отходов:
- Опилки.
- Крупная стружка.
- Щепа.
В данном видео рассмотрим как сделать щепорез своими руками:
Именно для производства последнего сырья и разрабатываются специальные щепорубительные установки. Технология создания арболитов на основе щепы выглядит следующим образом:
- Изначально подготовленные отходы древесины заливают водой, тщательно смешивают и перемещают в резервуар на пару часов. После продолжительной выдержки процент содержания клетчатки в сырье заметно снижается, что позволяет создавать на его основе качественные и устойчивые блоки.
- После этого полученную массу помещают в другой резервуар и заливают раствором хлорида кальция и сульфата алюминия. Эти вещества окончательно очистят консистенцию от остатков клетчатки.
- К древесным отходам добавляют цементную смесь и известь в пропорции 3:4:4. Затем следует поместить материал в бетономешалку и перемешать до полурассыпчатого состояния. Продукт должен обладать однородной консистенцией и не содержать в своем составе комков или несмоченных участков.
- В итоге полученную массу выкладывают в специальных формах, которые предварительно смазываются машинным маслом, и выдерживают при комнатной температуре до тех пор, пока она не затвердеет.
Что касается сфер применения арболита в строительстве, то они довольно обширные. На основе этого материала создают перемычки, стеновые конструкции, отдельные элементы полов и даже полноценные фундаментные блоки. В последнем случае к арболиту нужно добавлять цемент более высокой марки.
Такой строительный материал характеризуется высокой прочностью и хорошей теплоемкостью. Ему не страшны температурные скачки или повышение влажности, а огнестойкость и устойчивость к коррозийным процессам остаются на высшем уровне.
Изготовление каркаса
Почти готова дробилка для дерева. Своими руками изготовить можно и каркас для агрегата. Для этого потребуются профтрубы. Их стоит заготовить заранее. Чтобы сделать раму, профтрубы необходимо сварить между собой. Теперь нужно усилить конструкцию. Для этого внутри рамы стоит монтировать несколько профилей. Это позволит усилить крепление измельчающего блока и бункера.
К готовой раме следует приварить лист металла, а затем проделать в нем отверстия, предназначенные для крепления барабана и мотора. Чтобы дробилка стояла более устойчиво, стоит приделать 4 ножки.
Создание шредера с ножевым диском
Создать такой измельчитель травы своими руками можно из подручных материалов. Поскольку он предназначен для измельчения мягкого мусора, его конструкция будет весьма простой, однако и не будет обладать высоким показателем прочности. Можно сварить бункер из листового металла, а можно взять обыкновенное металлическое ведро. Также подойдет корпус от старого вентилятора.
Чертеж сборки шредера с ножевым диском: 1 — ножи 4 шт, 2 — дисковая фреза, 3 — подшипники №307
Для создания режущей системы на металлическом диске в специальные прорези вставляются ножи, которые можно предварительно изготовить из листа рессоры от автомобиля. Диск устанавливается на вал. Далее размещается приемный короб. Для такого шредера подойдет маломощный двигатель в 1 кВт. Все подробности создания садового электрического измельчителя травы своими руками можно посмотреть в видеоматериалах, предложенных в интернете.
Что стоит учесть
Теперь вы знаете, как делается дробилка для дерева своими руками. Изготовить агрегат на самом деле не так уж и просто, как может показаться на первый взгляд. Существует несколько нюансов, которые стоит учесть:
- Перед началом сборки рекомендуется нарисовать чертеж. Это прояснит отдельные моменты сборки конструкции, а также позволит избежать даже незначительных ошибок.
- Чтобы повысить производительность дробилки, следует установить большее число пил. Разрешается монтировать до 25 дисков. Толщина каждой пилы должна составлять 0,1 м.
- Если дробилка предназначена для измельчения более твердого материала, чем древесина, то стоит устанавливать не электродвигатель, а моторный блок. Его мощность намного выше.
- Что постоянно не точить диски самостоятельно, можно установить пилы с легкосплавными насадками.
- Чтобы материал находился под давлением в процессе измельчения, следует закрепить напротив бункера специальный брус, зафиксировав его на раме.
Пример продуманного механизма – гриндер от Чапая
Бренд «от Chapay» является универсальным инструментом за счёт грамотного и практически продуманного устройства и дизайна
Чапаевские станки способны обрабатывать дерево, металл, пластик, камень. Их заказывают люди, которые нуждаются в постоянном применении этого инструмента и его специальной настройке. Такие гриндеры – пример самодельных устройств с высокой производительностью. Вот небольшой обзор одной такой модели:
В завершение
Вот так выглядит дробилка для дерева. Как сдедать такой агрегат? Это несложно, если вы умеете правильно рисовать чертежи и работать с инструментами. Конечно, при отсутствии опыта могут возникнуть некоторые сложности. Стоит отметить, что дробилка, созданная по инструкции, которая описана выше, идеально подойдет для измельчения не только опавшей листвы и мелкого мусора, но и для бытовых отходов, и для древесины.
Такая конструкция считается более долговечной и надежной благодаря пилам, установленным горизонтально. Что касается заводских моделей, то здесь измельчительная система закреплена вертикально. При таком расположении пил необходимо постоянно следить за влажностью мусора и стеблей. В противном случае агрегат быстро сломается. Помимо этого, при изготовлении дробилки для дерева можно самостоятельно выбрать двигатель с необходимым показателем мощности и нужным количеством пил.
Каждый садовод, выполняя осеннюю или весеннюю обрезку деревьев, задается вопросом складирования или утилизации веток. Даже при работе с маленьким садом их накапливается более чем достаточно. Конечно, обрезанные ветки можно сжечь, но, во-первых, пока они еще сырые и это проблематично, во-вторых, наносится вред экологии. Для решения этой проблемы можно сделать измельчитель веток своими руками.
Что такое гриндер и для чего он предназначен
Слово «Гриндер» имеет английское происхождение и буквально читается как дробилка. В техническом плане этот термин используют для обозначения шлифовального устройства. Так что можно было бы просто назвать этот агрегат шлифмашиной, но тогда была бы путаница с ручными шлифмашинками, которые имеют немного другое устройство. Гриндер – это стационарный агрегат с электроприводом.
В остальном его конструкция очень схожа с ручной шлифовальной машинкой и имеет в своей основе вращающийся шкив с полосой абразивной бумаги
Для чего используют гриндер? В первую очередь – это механизм для заточки домашнего режущего инструмента. При определённой сноровке можно идеально наточить кухонные ножи или ножницы, резцы для дерева. Кроме этого, с помощью стационарного станка умельцы шлифуют деревянные детали, камень и металлические запчасти. Гриндер поможет выровнять кромку стекла, ДВП или МДФ.
С помощью ЛШМ легко очистить металл от краски и ржавчины
Профессиональные станки стоят не дёшево – от 30 000 рублей, поэтому вопрос, как сделать самодельный гриндер своими руками, горячо обсуждается на многих форумах.
Виды агрегатов
Наиболее простым выходом из этой ситуации является измельчить их в щепу, а уже ее использовать по своему усмотрению. Например, использовать для компоста, замульчировать почву и т. п. Для переработки веток в щепу понадобится садовый измельчитель. На сегодняшний день производители предлагают множество моделей такого необходимого в хозяйстве инструмента, но их объединяет общий недостаток — высокая цена.
Можно изготовить измельчитель веток садовый электрический своими руками. Главным элементом любого садового измельчителя является рабочий механизм, непосредственно измельчающий ветки в щепу. Кстати, их классифицируют по конструкции этого механизма. Чтобы изготовить измельчитель веток своими руками, лучше всего выбрать один из двух вариантов исполнения механизма измельчения: с дисковым измельчителем или с режущим механизмом из циркуляционной пилы.
В дисковом агрегате ветви деревьев измельчаются в щепу при помощи острых ножей, которые прикрепляются к массивному маховику. Конструкция позволяет с легкостью дробить большой объем веток.
Главным недостатком, является периодическая необходимость заточки режущих ножей. Без этого эффективность работы резко снижается и возрастает расход электроэнергии или топлива (в зависимости от типа привода).
Ножи изготавливаются из прочной, крепкой стали, поэтому их заточка довольно непростая задача. Возможно, придется обращаться за помощью к мастеру. В дробилках второго типа в подаваемую древесину буквально вгрызается механизм из нескольких десятков циркуляционных пил. По сравнению с дисковым агрегатом скорость заметно ниже, однако и щепа получается гораздо мельче. Из нее можно даже делать топливные брикеты.
Инструмент такого типа не требует периодической заточки, в случае полного износа потребуется замена режущих элементов. С одной стороны, это удобно, а с другой — затратно, однако для среднего домохозяйства, при использовании качественных циркуляционных дисков период между установкой и заменой может достигать 10 лет.
Выбор щепореза
Промышленные аппараты стоят очень дорого — средняя цена на заводскую модель превышает три миллиона рублей. Такая машина отличается мощностью и способна производить самую разнообразную щепу, но для домашнего использования она не рентабельна. Некоторые приобретают несколько отдельных аппаратов для сушки, дробления и окрашивания щепы.
Дробилки подразделяются по способу измельчения на дисковые и роторные. В дисковых переработка сырья производится с помощью острых дисковых ножей. А щепорезы роторного действия оборудованы вращающейся рабочей камерой или барабанов, в котором установлены ножи.
Если выбирать дробилку, то нужно уделить внимание толщине корпуса. Лучше, если она составляет не менее двух сантиметров в той части, где находится режущий узел. Иначе не избежать деформации корпуса и поломки аппарата. Ножи будут более прочными и долговечными, если они изготовлены из высокопрочной стали с высокой степенью износостойкости. Для хорошей производительности щепорезка должна иметь более двух ножей.
Более эффективными являются аппараты с круговым оборотом в 360 градусов: такая конструкция позволяет проще складировать полученную щепу.
Изготовление дискового измельчителя
Сделать такой агрегат несложно. Чтобы сделать самодельный дисковый измельчитель веток понадобится следующий набор материалов:
- Листовой металлопрокат толщиной 4 мм для изготовления бункера и защитного кожуха.
- Крепежные метизы.
- Полоса толщиной из крепкой, закаленной стали на изготовление ножей. Можно использовать рессору из грузового автомобиля.
- Металлопрокат для изготовления рамы. Идеально подойдет профильная или круглая труба, также можно подобрать готовый остов.
- Маховик или материал для его изготовления.
- Вал диаметром 20 мм. Можно приобрести готовый или заказать токарю.
- Два 307 подшипника.
- Обоймы подшипников, которые в последующем будут приварены к раме.
Для проведения работ также понадобится болгарка, дрель, сварочный аппарат и расходники к ним. В маховике делается отверстия под вал. Если нет готового маховика, его следует изготовить из стального листа толщиной около 15 мм.
В домашних условиях выполнить такую работу невозможно, понадобится помощь токаря-фрезеровщика. Из рессоры или полосы вырезаются ножи и прикрепляются к маховику с углом наклона в 30 градусов. Затем изготавливается рама и загрузочный бункер. Собирается воедино конструкция из ножей, маховика, вала, подшипников, их обойм и рамы.
Устанавливается защитный кожух и загрузочный бункер. Финальный аккорд — установка двигателя и соединение его с рабочим органом посредством ременной или прямой передачи. В случае выбора ременной передачи необходимо предусмотреть механизм регулировки натяжения ремня. После покраски работы по изготовлению самодельного измельчителя веток дискового типа можно считать законченными.
Материалы и инструменты
Большую часть составляющих шредера можно подобрать из запасов, имеющихся в домашнем хозяйстве. К примеру, рама прекрасно собирается из металлических уголков, швеллера и труб. Электродвигатель, как правило, покупается либо берется у мини-трактора. Используемая фреза должна быть обязательно с крупными зубцами, а дисковые пилы – обладать диаметром от 100 до 200 миллиметров. Если работа происходит с валом, то шестерни приобретаются в количестве пары штук, то же относится и к шкиву, а также к самому валу – их должно быть два. Ножи можно будет сделать из рессор автомобиля при наличии фрезерного станка.
Из инструментов стоит подготовить перфоратор, гаечные ключи, болгарку, а также прибор для сварки и набор креплений.
Дробилка с матрицей из циркуляционных пил
Это — тоже несложное в изготовлении устройство. Для того чтобы изготовить садовый измельчитель своими руками такого типа понадобятся:
- 20 штук качественных циркуляционные пил, желательно с твердосплавными напайками.
- Крепежные метизы.
- Разделительные шайбы для пил. Необходимо 19 штук толщиной 4−5 мм.
- Листовой металлопрокат для изготовления бункера и защитного кожуха.
- Готовая рама или материал для ее изготовления.
- Два подшипника № 307.
- Вал диаметром 20 мм с резьбой.
- Обоймы подшипника.
Измельчитель древесины своими руками готов!
Как видно, набор во многом пересекается с материалами для изготовления дискового измельчителя. На валу собирается матрица из пил, путем последовательного размещения пил и разделительных шайб. Затем эта конструкция зажимается гайками.
Дабы исключить возможность раскручивания во время работ, после затягивания кренят резьбу или используют специальные фиксирующие шайбы. Дальнейшая последовательность действий идентична работам по изготовлению дисковой дробилки.
Для владельцев дома с участком или дачи обычно актуален вопрос переработки растительных отходов, и эту проблему можно решить, если изготовить измельчитель веток своими руками.
После обрезки кустарников и деревьев каждый сезон остается немало ветвей, которые приходится сжигать или складировать в компостную кучу и долго дожидаться их перегнивания. Дробилка для дерева позволит избавиться от неэстетичных груд из веток разных размеров и ускорить процесс образования компоста, пригодного для подкормки культурных растений. Самодельный садовый измельчитель также подходит для перемалывания крупных сорняков, стеблей подсолнечника и иных растительных отходов.
Измельчитель древесины станет полезен тем, кто отапливает свой дом, дачу или гараж твердым топливом. Такая установка дает возможность готовить сырье из отходов деревообработки к дальнейшему превращению в пеллеты для отопления.
Принципиальная схема конструкции гриндера и принцип его работы
Как мы уже говорили, конструкция гриндера напоминает простое устройство ручной шлифмашинки. Движение наждачной ленты осуществляется с помощью роликов, а их вращает электромоторчик. Чтобы лента натягивалась без провисаний, присутствует механизм для натяжения, передвигающий один из роликов. Отличие от ручного агрегата только в наличии устройства, фиксирующего обрабатываемую деталь. Оно представляет собой столик с поворотным механизмом и надёжными фиксаторами. Столик можно вращать, чтобы обрабатывать детали с разных сторон.
Для обеспечения мер безопасности во время работы с вращающимся механизмом гриндер оснащается акриловым экраном.
Весь механизм подсоединяется к универсальному станку с помощью надёжного крепежа. Модели заводского производства, без сомнения, довольно мощные и производят впечатление удобства управления. Но домашние мастера жалуются на ненадёжность штатных крепежей и чрезмерную длину ленты, которая требует мотора с высокой мощностью. Так что не только по причине дороговизны, но и из чисто практических соображений многие решаются на изготовление ленточного гриндера своими руками. Работа эта не такая сложная, как кажется, на первый взгляд, да ещё можно использовать бывшие в употреблении запчасти от других механизмов.
Садовый измельчитель своими руками: выбор конструкции
Самодельный измельчитель веток состоит из следующих основных элементов
:
- мотор (электрический, бензиновый);
- рабочий вал с режущим элементом;
- опорная рама;
- защитный кожух;
- приемный короб;
- бункер для измельченных растительных отходов.
Обратите внимание! Для удобства перемещения дробилка для дерева может быть установлена на колесную раму.
Веткоизмельчитель работает по следующему принципу: в приемный вал подаются растительные отходы в виде травы и веток, их перемалывают ножи, закрепленные на рабочем валу. Двигатель может располагаться непосредственно на валу либо подсоединяться к нему ременной передачей.
Цены на бытовые и профессиональные гриндеры
Если у вас нет возможности и вдохновения на работу над самоделкой, вы можете купить ленточный гриндер через интернет или в магазине инструментов в своём городе. Мы проанализировали самые популярные модели бытового и профессионального гриндера и предлагаем вам ознакомиться с ценами на них:
| Модель | Назначение | Технические характеристики | Цена (по состоянию на июнь 2019 года), руб. |
| Fein GRIT GI 100 | Профессиональный | Мощность, Вт − 1,5 кВт. |
Обороты, об/мин – 3000-3450.
Размеры ленты, мм − 100×1000.
112709ЗУБР ЗШС-500БытовойМощность, Вт − 500 Вт.
Обороты, об/мин – 2950.
Размер ленты, мм – 914×100.
Размер основания, мм – 158×225.
8900JET JSG-64БытовойМощность Вт – 400.
Обороты, об/мин – 1800.
Размер ленты, мм − 914×100.
Размер основания, мм − 177×137.
13500Gryphette Grinder 03ПолупрофессиональныйМощность, Вт – 1500.
Обороты, об/мин – 3000.
Размер опорного стола − 50×160.
Размеры ленты, мм 1250-1600×50.
25000
Если вы приобретали профессиональный или бытовой гриндер – поделитесь впечатлениями от работы с прибором в комментариях. Мы будем благодарны, если вы поделитесь собственным опытом изготовления самодельного устройства.
Экономьте время: отборные статьи каждую неделю по почте
- Что делать?
- В и д е о
- Картинки До 350 000 рублей на год без процентов. Это Халва! До 4000 рублей в день. Партнёрам Яндекс.Такси —>
- Карты и маршруты
- Почитать журнал потребителя
- No FolloW за нами в Twitter!
- Каталог /
- Видео /
- Хобби и стиль /
- Гриборезка своими.
Обводной
Этот сучкорез пригодится для удаления живых ветвей при формирующей обрезке деревьев и кустарников. Его рабочая часть оснащена верхним заточенным лезвием, которое во время отсекания побега будет скользить вдоль нижнего режущего полотна, выполняющего роль упора. И если для удаления толстой ветви ножовкой вам потребовалось бы совершить многочисленные возвратно-поступательные движения, то сучкорез справится с поставленной задачей после однократного сжимания его рукояток или натягивания корда.
Верхнее лезвие обводного сучкореза должно «смотреть» на ветвь, от которой вы хотите отсечь побег, а не в противоположную сторону.
С храповым механизмом
И сучкорез с наковальней, и его обводной собрат могут иметь весьма полезное дополнение — храповый механизм. Ветвь отсекается поэтапно: разрезав часть побега, верхняя режущая пластина задержится в тканях растения, а рукоятки или корд при этом вернутся в исходное положение, готовые к очередному сжатию или натягиванию соответственно.
После 2 — 4 подобных сжатий рукояток и натягиваний шнура ненужный побег будет отсечен. Подобный механизм чуть увеличит время обрезки, но значительно сократит ваши усилия при удалении самых прочных и толстых побегов. Такой садовый помощник пригодится для обрезки как сухих, так и живых ветвей и исключит «размочаливание» древесины при их отсекании от растения.
Штанговый
Для работы с высокорослыми садовыми насаждениями идеально подходит штанговый сучкорез, именуемый также высоторе-зом. Его отличительная особенность — штанга длиной от 1,3 до 4 м, которая позволит проводить обрезку крупноме-ров без использования стремянки. Стоя на земле, вы возьмете в одну руку телескопическую рукоятку высотореза с закрепленной на ее конце рабочей частью, а другой рукой приведете в действие инструмент, просто потянув за корд (веревку).
Благодаря эргономичной конструкции штанговый сучкорез не будет застревать даже в излишне загущенной кроне и позволит удалять ненужные ветви под любым углом.
Шредеры дробилки для измельчения древесины с небольшим количеством металлических примесей
К преимуществам таких дробилок относится их неприхотливость, редкая замена измельчающих частей и возможность перерабатывать отходы с небольшими металлическими включениями (к примеру с гвоздями). Это удобно при наличии собственной котельной на территории производства, когда все отходы можно измельчать на сжигание.
К недостаткам таких дробилок можно отнести плохое качество получаемой щепы. Каждый специалист знает, что самая лучшая щепа это резанная, в данном случае при переработке сырой древесины мы получаем рваную щепу, а при измельчении сухих отходов получают ломанную щепу.
Шредеры как и дисковые дробилки бывают:
Мобильные. Используются для измельчения древесины на лесосеках.
Удачи и до новых встреч!
Установка бункера и кожуха для защиты
Если говорить про конструкцию измельчителя веток, то тут стоит придерживаться следующих рекомендаций:
- изделие из дисковых пил является самым оптимальным вариантом, когда необходимо получить стружку без особых затрат для отопления собственного дома;
- когда необходимо перерабатывать ветки маленького размера в крупную фракцию, то стоит сделать механизм для резки типа фуганки;
- если будут дробиться ветки среднего диаметра, то стоит изготовить дисковую дробилку.
Техника безопасности при работе с машинами
Рубительная машина – это опасный механизм, поэтому при работе с ним необходимо быть предельно внимательным.
Перед каждым пуском необходимо проверять состояние электрической части рубительной машины.
Не реже раза в неделю нужно проверять затяжку всех болтов и гаек, включая крепления ножей и бугелей подшипников.
Нельзя работать в распахнутой одежде с расстегнутыми рукавами, ведь ее может затянуть в измельчитель вместе с древесиной. Кроме того, нельзя подходить к работающему агрегату с обратной стороны, особенно, если ременный привод не закрыт кожухом.
Из-за высокого уровня шума работа без наушников может повредить слух.
Самостоятельное производство измельчителя древесины
Мы предлагаем самостоятельно сделать аппарат, состоящий из ножевого измельчителя и молотковой дробилки. Чертеж такой щеподробилки представлен ниже на фото.
Данный вид обладает наиболее простой конструкцией и подходит для изготовления игольчатой щепы.
Такую щепу можно использовать для:
- копчения любых продуктов;
- настаивания алкоголя;
- отопления;
- получения биотоплива;
- изготовления компоста и гумуса;
- мульчирования огорода;
- отсыпки дорожек;
- изготовления арболита;
- изготовления различных поделок.
Установка сита с небольшим диаметром отверстий позволит получать щепу минимального размера. Увеличение диаметра отверстий также приведет к увеличению размера щепы.
Если необходима еще более крупная фракция, то можно отключить молотковый измельчитель. По сравнению с ним барабанная дробилка очень сложна в изготовлении, а дисковый измельчитель обладает малой производительностью и небольшим ресурсом.
Материалы
Выбор деталей необходимо начинать с электромотора, потому что чем мощней будет двигатель, тем более толстые ветки и обрезки аппарат сможет переработать в щепу.
При этом увеличение мощности мотора всегда приводит к необходимости увеличивать прочность рамы и размер диска с ножами.
Оптимальным для самодельного станка будет электромотор мощностью 3 кВт. Такой станок сможет превращать в щепу ветки и обрезки толщиной 2–5 см, если же обрезки подавать по одному, позволяя мотору полностью раскрутить диск, то их размер может быть увеличен в 1,5 раза.
Также потребуются:
- изготовленный на заказ стальной вал диаметром 30–40 мм с посадочными местами под все детали;
- стальной диск толщиной 2–3 см с центрованным отверстием и прорезями под ножи (нужно делать на заказ у токаря или фрезеровщика);
- ножи из инструментальной стали (можно снять со списанного деревообрабатывающего станка) или автомобильной рессоры;
- шкивы для вала и мотора с передаточным числом 1:2 или 1:3;
- стальной уголок с размером полки 50 мм;
- подшипники подходящего размера;
- листовой металл толщиной 1 мм;
- миниатюрные петли для крепления откидной части кожуха;
- сита с разным размером отверстий из листового металла толщиной 0,7–0,9 мм или такой же листовой металл, в котором нужно будет просверливать отверстия;
- шкивы и ремни;
- система натяжения ремней (можно снять с автомобиля, мощной электротехники или сделать самостоятельно);
- пускатель и конденсаторы для двигателя;
- выключатель;
- электрический кабель и вилка.
Инструменты
Для самостоятельного изготовления щепореза потребуются:
- токарное и фрезерное оборудование по металлу;
- болгарка;
- сварочный инвертор;
- набор гаечных ключей и отверток;
- дрель;
- набор сверл и метчиков;
- рулетка;
- кернер;
- молоток.
Пошаговое руководство с фото
Изготовление необходимо начинать с выбора диска, диаметр которого должен быть больше максимального размера измельчаемой древесины в 4–5 раз. То есть для измельчения веток толщиной в 5–8 см его диаметр должен составлять 30–40 см. Оптимальная толщина — 2–4 см.
Диаметр посадочного отверстия должен быть таким, чтобы диск с заметным усилием налезал на предназначенный для него участок вала.
Поэтому приходится либо вал и диск делать на заказ, либо подгонять одну из деталей под другую. В любом случае, изготовление обеих деталей лучше доверить опытному токарю и фрезеровщику.
В диске делают 3 прорези длиной 2/3 радиуса, расположенные под углом 120 градусов друг относительно друга. Ширина прорезей — 2 см.
В ножах и диске делают согласованные отверстия (по 2 на каждый нож). Причем в ножах диаметр отверстий должен составлять 11 мм, а в диске 9 мм.
В диске нарезают резьбу М10х1, а в ножах зенкуют посадочные отверстия для болтов с конусной потайной шляпкой под шестигранник или крестовую отвертку.
Ножи устанавливают на диск, после чего диск надевают на вал и проваривают с обеих сторон.
Вал с диском ставят на подшипники и проверяют балансировку, при необходимости болгаркой укорачивают один из ножей, обрезая его со стороны вала.
После окончания балансировки изготавливают диски молоткового измельчителя, их наружный диаметр 12–15 см, а толщина 5–10 мм. Они также должны надеваться на вал с заметным усилием.
На расстоянии 2–2,5 см от наружного края диска просверливают 3 отверстия, расположенные под углом 120 градусов. Диаметр отверстий равен диаметру пальцев, на которых будут установлены молотки.
Изготавливают пальцы и молотки, причем длина молотков должна быть такой, чтобы в рабочем состоянии их дальний конец соответствовал краю диска с ножами.
Для изготовления молотков подойдет листовая сталь толщиной 5 мм, а пальцы можно сделать из стального прутка подходящего диаметра.
Вырезают 3 отбойные пластины, ширина которых равна расстоянию между молотковыми дисками с учетом температурного зазора в 2 мм, а длина равна расстоянию от вала до края ножевого диска. Толщина пластин — 5 мм.
Нарезают проставки на пальцы, причем ширина проставок должна быть равна расстоянию между пальцами (оптимально 2–2,5 см), а внутренний диаметр — на 1 мм больше диаметра пальца.
Когда все детали молотковой системы готовы, то приступают к ее сборке.
Для этого вставляют пальцы в наружный диск, чтобы они выступали на 2 мм и обваривают их снаружи.
К внутренней стороне этого же диска приваривают отбойные пластины, расположенные под углом 120 градусов и сдвинутые относительно пальцев на 60 градусов.
Диск с пальцами и пластинами устанавливают на вал и проваривают с внутренней стороны. На пальцы надевают молотки и проставки. Далее на эту конструкцию надевают второй диск и проваривают стыки с отбойными дисками и валом. Затем проваривают стык диска и пальцев.
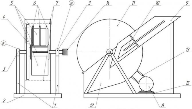
Измельчитель на мотоблок
Наверняка каждому садоводу нравится, когда его территория чистая и ухоженная. Для получения желаемого результата нередко используют мотоблоки и разные навески. Указанный агрегат хорош не только для обработки земли, но и для выполнения массы самых задач абсолютно разнообразного плана.
Одной из многих функций машины является измельчение веток. Естественно, проделывать такие операции можно только при помощи специальной приставки к мотоблоку.
Сборка шредера
Перед началом сборки желательно смазать подшипники. Пилы необходимо устанавливать так, чтобы зубья были вразнобой. Первым делом собирается пакет пил.
Порядок изготовления:
- Нужно собрать все пилы на валу. Между каждой проложить по шайбе и укрепить режущие элементы с двух сторон гайками.
- Напрессовать подшипники.
- Укрепить на концах маховик и шкив.
- В нескольких миллиметрах от набора пил укрепить контрнож.
- Установить двигатель и передаточный механизм.
- Натянуть ремень.
Контрнож устанавливать на раму лучше с помощью болтов, а не сварки, делая при этом овальные отверстия. Это нужно для регулирования расстояния между пилами и плитой. Так можно менять размер фракции готовой щепы.
При завершении монтажа всех необходимых элементов нужно сделать защитный кожух. Для него можно брать тонкий листовой метал. Размеры кожуха могут быть разными. Главное, чтобы работать было удобно и безопасно. Подключать электродвигатель к сети стоит через автомат в 25 А.
Собрать ножевую дробилку можно точно так же, как и дисковую, но сначала необходимо установить ножи на валу. Чтобы щепки получались побольше, нужно режущие кромки ножей выдвинуть за вал.
В конце приваривается бункер. Располагать его нужно так, чтобы ветви подавались перпендикулярно по отношению к режущему валу.
Модельный ряд
Дробилки пользуются спросом, но все же относительно недавно присутствуют на рынке.
Рассмотрим наиболее популярные модели:
- Измельчитель веток «Премиум без дровокола». Изготовлен в прочном стальном корпусе, весит 77 кг. Режущий механизм – ножевая система. Способен перемалывать ветки до 50 мм в диаметре. В комплекте к устройству есть шкив на мотоблок.
- Измельчитель веток для мотоблока «Володар». Обладает высокой производительностью и способен переработать до 5 куб. м веток в час. Режущий механизм – ножевая система, состоящая из 6 ножей, размещенных на валу. Вес – 160 кг. Оснащен большим приемным бункером. Хорошо подходит к бензиновым моторам.
- Дробилка (рубильная машина) для мотоблока РМ-90 М. Вес – 140 кг. Производительность – до 5 куб. м веток в час. Подходит к мотоблоку как с бензиновым, так и с электрическим двигателем.
Дисковая дробилка для щепы из круглого леса
Дисковые дробилки зарекомендовали себя хорошо при дроблении стационарно круглого леса больших диаметров и при измельчении малых кусковых отходов и сучьев мобильно. При измельчении стационарно круглого леса больших диаметров, этот тип оборудования конкурирует с барабанными дробилками и имеет перед ними следующие преимущества:
- Дробилка для щепы дисковая занимает гораздо меньшую площадь чем аналогичная барабанная дробилка. Но при этом высота дробилки больше. Это преимущество выгодно использовать в цехах с малой площадью.
- Качество щепы выше чем получаемой на барабанных дробилках. Это позволяет в дальнейшем получать более качественную стружку из такой щепы.
- Дисковые дробилки не имеют отдельного механизма подачи сырья на режущую часть, так как специально выставленные ножи и подача сырья под углом позволяет затягивать древесину без дополнительных устройств. Этот критерий мы бы отнесли также к плюсу, так как отпадает необходимость в обслуживании дополнительного узла.
Специально сделанные лопасти позволяют выкидывать щепу на расстояние 3 — 10 метров.
Преимуществом небольших дисковых дробилок является небольшая цена и долговечность работы. К примеру тут можно купить дисковую дробилку совсем недорого.
Процесс доработки сучкореза
Поэтому я решил произвести очень быструю и простую доработку своего сучкореза. Для этого, я просто зажал в тисках его рабочую часть, для удобства подложив сбоку стальной брусок.
А затем, аккуратно и медленно надавливая на рукоятки, придал рабочей части сучкореза небольшой изгиб.
Вот вид изгиба рабочей части сучкореза с разных ракурсов.
Испытания сукореза в работе
Дальнейшая практика показала, что работать с таким изогнутым сучкорезом намного удобнее, чем с прямым.
Действительно, вот я для наглядности положил рабочую часть сучкореза горизонтально на верстак. При этом видно, что рукоятки у него приподняты над уровнем верстака под некоторым углом.
В таком положении, сучкорезом значительно удобнее вырезать вертикальные ветви кустарников, поскольку рукоятки у него уже не лежат на самой земле, а соответственно и руки во время работы не задевают о землю, да и нагибаться сильно не нужно.
Также очень удобно вырезать малину и ежевику. Да и дикую поросль вишен и слив, таким сучкорезом вырезать значительно удобнее и проще чем ручным секатором.
Естественно, что таким изогнутым сучкорезом можно вырезать и горизонтальные ветви на деревьях. При этом мне кажется, что в некоторых случаях использование такого сучкореза даже предпочтительнее, поскольку при срезании ветки его нужно держать не перед собой, а чуть сбоку, что значительно облегчает работу, а также улучшает обзор области среза.
Кроме того, при срезании вертикально растущих сучков, за счет изгиба рабочей части, нам уже не надо высоко задирать рукоятки сучкореза, а можно держать их ниже уровня среза, что опять же делает работу более удобной.
ТОП-10 моделей
Приобрести достаточно хороший сучкорез сегодня можно по вполне доступной цене – в среднем 2000-3000 рублей. Одни из самых популярных моделей описаны ниже.
VERTO 15G259
Инструмент телескопического типа, с помощью которого можно обрезать достаточно толстые ветви (диаметр до 45 мм). Оснащен алюминиевыми рукоятками, сжатие которых увеличивается на 30% благодаря передаче. По отзывам пользователей это достаточно удобный сучкорез, который хорошо лежит в руках.
Цена 2500 руб.
GRINDA 8-424391_z01
Оснащенная мощным и надежным лезвием из углеродистой стали. Разрезает ветви до 40 мм в диаметре, обеспечивает максимальную длину 1 метр. Сучкорез снабжен храповым механизмом, однако по отзывам садоводов он срабатывает не всегда.
Бюджетная модель (1300 руб.)
RACO 4212-53/248
Удобный инструмент с прочным лезвием, помогающим срезать ветви диаметром до 40 мм. Накладки на рукоятках мягкие, предотвращают скольжение. Общая длина 70 см, поэтому такой сучкорез подойдет для работы с небольшими кустарниками.
Продается по доступной цене 1800 руб.
Smart Cut Comfort Gardena 08773-20.000.00
Один из лучших сучкорезов с надежным храповым механизмом и очень острым лезвием, разрезает ветви до 45 мм в диаметре. Снабжен металлической наковаленкой и удобным фиксатором, который можно обслуживать одной рукой. Механизм среза патентован чешским производителем.
Розничная цена около 4700 руб.
GRINDA 8-424431_z01
Его можно использовать для срезания ветвей небольшого диаметра (до 32 мм). Корпус выполнен из прочной стали, инструмент снабжен достаточно удобной рукояткой и направляющим блоком. Дачники отмечают, что инструмент работает очень эффективно, поэтому модель можно считать одной из лучших по соотношению цены и качества.
Этот сучкорез обладает самой низкой стоимостью – в среднем 800-900 руб.
RACO 4218-53/372C
Это штанговый сучкорез, с помощью которого можно работать с небольшими ветвями диаметром до 32 мм. Длина инструмента также небольшая – 42,5 см. Среди достоинств – широко разведенные лезвия (на 3 см), надежное крепление из стали высокого качества и доступная цена (1400 руб.).
FINLAND 1710
Разрезает ветви диаметром до 40 мм, имеет общую длину 52 см. Лезвие выполнено из углеродистой стали, а рукоятки – из композитного материала, что обеспечивает их долговечность.
Еще одна бюджетная модель, которую можно приобрести за 1500-1600 руб.
FINLAND 1709
Это плоскостной сучкорез, с помощью которого можно обрезать ветви диаметром до 44 см. Лезвия сделаны из углеродистой стали и имеют защитное покрытие AntiStick. Рукоятки сделаны на основе стекловолокна и нейлона, что также гарантирует длительный срок службы. Дачники отмечают, что это удобный и легкий инструмент, с которым комфортно работать.
Приобрести модель можно за 1700 руб.
GARDENA TeleCut 520-670 B 12005-20.000.00
Инструмент с регулируемыми ручками, благодаря которым можно обрезать в том числе высокие сучья диаметром до 38 мм. Снабжен специальными насадками из мягкого материала, которые защищают ладонь от повреждений. Лезвия обеспечивают точный срез, при этом работать с сучкорезом достаточно легко.
Модель производится в Германии, реализуется по цене 3500 руб.
Fiskars 1000582
Это плоскостной сучкорез польского производителя. С его помощью можно срезать сучки диаметром до 38 мм. Лезвия загнутые, прочные и очень острые. При этом инструмент весит всего 600 г, благодаря чему работать с ним смогут как мужчины, так и женщины.
Цена около 1900 руб.
Таким образом, подобрать хороший сучкорез по доступной цене вполне возможно. Основное условие покупки – возможность тщательно протестировать инструмент еще в магазине. Необходимо обратить внимание на работу конструкции и на собственные ощущения.
Стружечный станок для переработки технологической щепы в специальную стружку
Мы уже рассматривали эти станки здесь. На них, в отличии от молотковой дробилки, получается специальная игольчатая стружка. Такая стружка применяется для производства древесных плит и благодаря своему строению увеличивает прочность плит и снижает расход связующего.
От качества игольчатой стружки и производительности станков в плитном производстве так много зависит, что станки выпускаемые для ее производства изготавливают все с большим количеством инноваций и внедрений, и вот одно из самых последних (предоставлено нашими партнерами фирмой ИМАЛПАЛ):
Общая характеристика
Веткоизмельчитель к мотоблоку – это специальная приставка (насадка) к мотокультиваторам и мотоблочной технике. Это приспособление, в основном, применяется:
- чтобы измельчить специально собранный в лесных насаждениях хворост;
- чтобы переработать в садах ветки кустарников, плодовых деревьев и молодой поросли.
В результате работы измельчителя веток на мотоблок получается мелко измельченная стружка. Ее можно использовать, как мульчу, либо же сложить в компостную яму для выработки перегноя (огородники и садоводы очень часто используют стружку для выработки перегноя), то есть стружку можно использовать, как удобрение. В диаметре измельченный веткоизмельчителем к мотоблоку материал получается до пятидесяти миллиметров.
Большое преимущество измельчителя-насадки для мотоблока заключается в том, что к любому типу мотокультивактора или мотоблока измельчитель веток может идеально подходить (самое главное, чтобы устройство было оснащено ременным приводом от двигательного шкива к редукторному шкиву).
Измельчитель для мотоблока позволяет забыть про разведение костров, которые необходимы для сжигания отходов и мусора на дачном участке.
Основные требования, предъявляемые к самодельным устройствам
Любой самодельный агрегат должен не только производить щепу подходящей формы и размера, но и быть приспособленным для работы с наиболее часто используемыми материалами.
Поэтому необходимо продумывать не только рабочий узел, который измельчает древесину, но и устройства, обеспечивающие подачу материала.
Кроме того, конструкция агрегата должна обеспечивать максимальную безопасность при его использовании. Это касается не только возможного вылета перерабатываемой древесины или острых вращающихся деталей, но и затягивания одежды под приводные ремни или цепи, а также поражения электрическим током.
Как выбирать?
Прежде, чем купить подобный агрегат, нужно изначально разобраться, с какой целью будут измельчаться трава и веточки. От этого прямо зависит выбор конструкции аппарата и ее типа.
Измельчители для веток для мотоблока делятся по следующим параметрам:
- принцип и тип работы измельчительного блока;
- тип и мощность двигателя;
- вид мотора (электрический и бензиновый).
Агроустройство с бензиновым мотором лучше перерабатывает крупные веточки. Оно считается более мобильным. Для его работы не нужны электросети. Электрический агрегат лучше использовать, если нужна насадка для трактора или мотоблочного агрегата. Электрический агрегат компактный, более простой в работе, но его главный недостаток – это прямая зависимость от электросети.
При выборе агроустрйоства нужно обращать внимание на ножевую конструкцию, которая влияет на качество дробления. К примеру, некоторые такие приставки способны обработать веточки длиной до десяти сантиметров.
Самодельный измельчитель веток — навесное оборудование для мотоблока, трактора
Материалом для изготовления мотоблочного измельчителя будет служить швеллер 250. Дополнительно потребуется шкив сечением 87 миллиметров, и ножи длиной 100 миллиметров от электрорубанка. Необходимо соорудить приемный бункер, в который и будут загружаться разнообразные ветки. Бункер оснащается неподвижным острым дисковым ножом, который и будет измельчать ветки. Лучше брать диски диаметром примерно 80 мм. Диск крепится на болты М8. Таким образом, ножи не будут постоянно забиваться мелкой трухой при переработке дерева.
Главное, правильно выбрать угол наклона при установке ножа. Тогда ветки будут измельчаться буквально в мгновение.














